Продаж запчастин:
+38-067-578-84-61
0
Продаж запчастин:
+38-067-578-84-61
0
Запчастини
ХТЗ-248К.20
ХТЗ-249К.20
Продукція
Гарантія та сервіс
Про завод
DCH
Наглядова рада
Управлінська команда
Публічна інформація
Історія заводу
Медіа
Контакти
Каталог
ХТЗ-249К.20
Гідросистема
Кронштейн з муфтами
Кронштейн з муфтами ХТЗ-249К.20
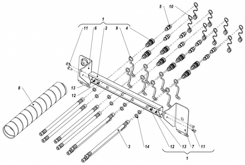
1
Номер: 170.57.017-3
КРОНШТЕЙН З МУФТАМИ
5310.20
2
Номер: 170.57.018-3
КРОНШТЕЙН
0.00
3
Номер: РВД163.57.020-16
РУКАВ
0.00
4
Номер: НР10-1-Х0044
НАПІВМУФТА ОХВАЧУВАЛЬНА (чи АПАМ.302636.002-03)
0.00
5
Номер: НР10-2-Х0041
НАПІВМУФТА ОХВАЧУВАЛЬНА (чи АПАМ.302636.051-03)
0.00
6
Номер: 170.57.242
КРОНШТЕЙН
0.00
7
Номер: 170.57.242-1
КРОНШТЕЙН
0.00
8
Номер: 172.57.143
РУКАВ ЗАХИСНИЙ
0.00
9
Номер: 330060132
КОВПАЧОК ЗАХИСНИЙ (чи Заглушка Н.036.127.001-03) СИНІЙ
0.00
10
Номер: HP10-0-RT004
КОВПАЧОК (чи Заглушка Н.036.126.001-02) СИНІЙ
0.00
11
Номер: БНП-М12.6G*25.46
БОЛТ М12-6gх25.88.35.019 ГОСТ 7796-70 чи DIN 933)
0.00
12
Номер: ГНШ-М12.6Н.115
ГАЙКА М12-6Н.8.0112 ГОСТ 5915-70
0.00
13
Номер: ШГОТ-12 65Г.20
ШАЙБА 12 ОТ 65Г 05 ГОСТ 6402-70
0.00
14
Номер: ШГН-12 65Г.20
ШАЙБА 12 65Г 05 ГОСТ 6402-70
0.00