Продаж запчастин:
+38-067-578-84-61
0
Продаж запчастин:
+38-067-578-84-61
0
Запчастини
ХТЗ-248К.20
ХТЗ-249К.20
Продукція
Гарантія та сервіс
Про завод
DCH
Наглядова рада
Управлінська команда
Публічна інформація
Історія заводу
Медіа
Контакти
Каталог
ХТЗ-249К.20
Трансмісія
Мости та кардани
Міст передній та задній
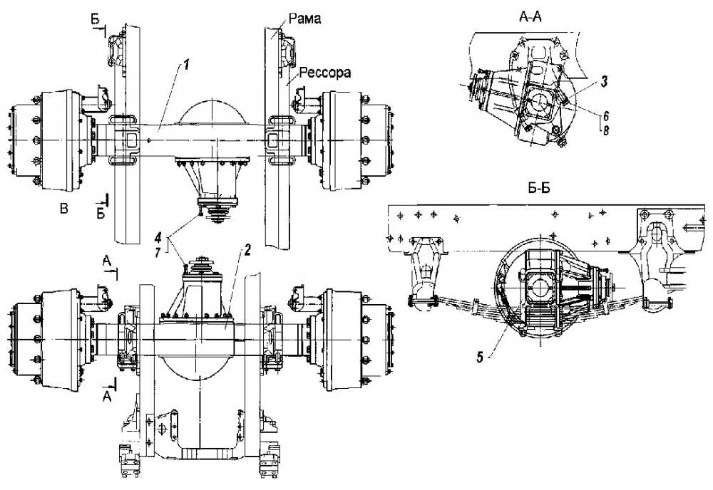
Міст передній та задній ХТЗ-249К.20
1
Номер: 240К.72.005А
МІСТ ПЕРЕДНІЙ ВЕДУЧИЙ
0.00
2
Номер: 240К.73.005А
МІСТ ЗАДНІЙ ВЕДУЧИЙ
0.00
3
Номер: 151.30.246
ПЛАСТИНА
0.00
4
Номер: 151.72.254
БОЛТ М12-6gх70.66.019 ГОСТ 7795-70 (чи БОЛТ DIN 933-M12x70-8.8-A4A)
0.00
5
Номер: 151.31.101-5
СТРЕМЯНКА
0.00
6
Номер: М24х2-6gх90
БОЛТ М24х2-6gх90.109.40Х.019 ГОСТ 7796-70
0.00
7
Номер: ГНШ-М12.6Н.115
ГАЙКА М12-6Н.8.0112 ГОСТ 5915-70
0.00
8
Номер: ШГН-24 65Г.20
ШАЙБА 24 65Г 05 ГОСТ 6402-70
0.00