Продаж запчастин:
+38-067-578-84-61
0
Продаж запчастин:
+38-067-578-84-61
0
Запчастини
ХТЗ-248К.20
ХТЗ-249К.20
Продукція
Гарантія та сервіс
Про завод
DCH
Наглядова рада
Управлінська команда
Публічна інформація
Історія заводу
Медіа
Контакти
Каталог
ХТЗ-248К.20
Пристрій навісний задній
Пристрій навісний задній (частина 6)
Пристрій навісний задній (частина 6) ХТЗ-248К.20
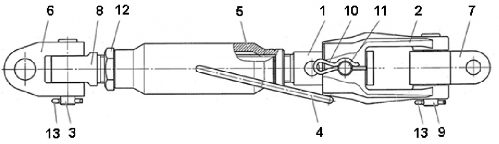
1
Номер: 172.56.124
ГВИНТ РОЗКОСУ
0.00
2
Номер: 172.56.125
ВИЛКА
1491.80
3
Номер: 172.56.127
ВІСЬ ГОСТ 9650-80
99.50
4
Номер: 172.56.143
РУЧКА
301.90
5
Номер: 172.56.144-1
МУФТА
2504.20
6
Номер: 172.56.164
СЕРГА РОЗКОСА
1935.80
7
Номер: 172.56.164-01
СЕРГА РОЗКОСА
1935.80
8
Номер: 172.56.185
ГВИНТ РОЗКОСА ВЕРХНІЙ
0.00
9
Номер: 125.56.192
ВІСЬ ГОСТ 9650-80
120.80
10
Номер: 151.58.121 чи (11024-E5-St-A3A)
ШПЛІНТ ПРУЖИННИЙ чи (DIN)
0.00
11
Номер: 151.58.127-2
ВІСЬ ГОСТ 9650-80
97.70
12
Номер: 18040.56.458-02
ГАЙКА
119.00
13
Номер: Ш-6,3*40.30
ШПЛІНТ ГОСТ 397-79
0.00