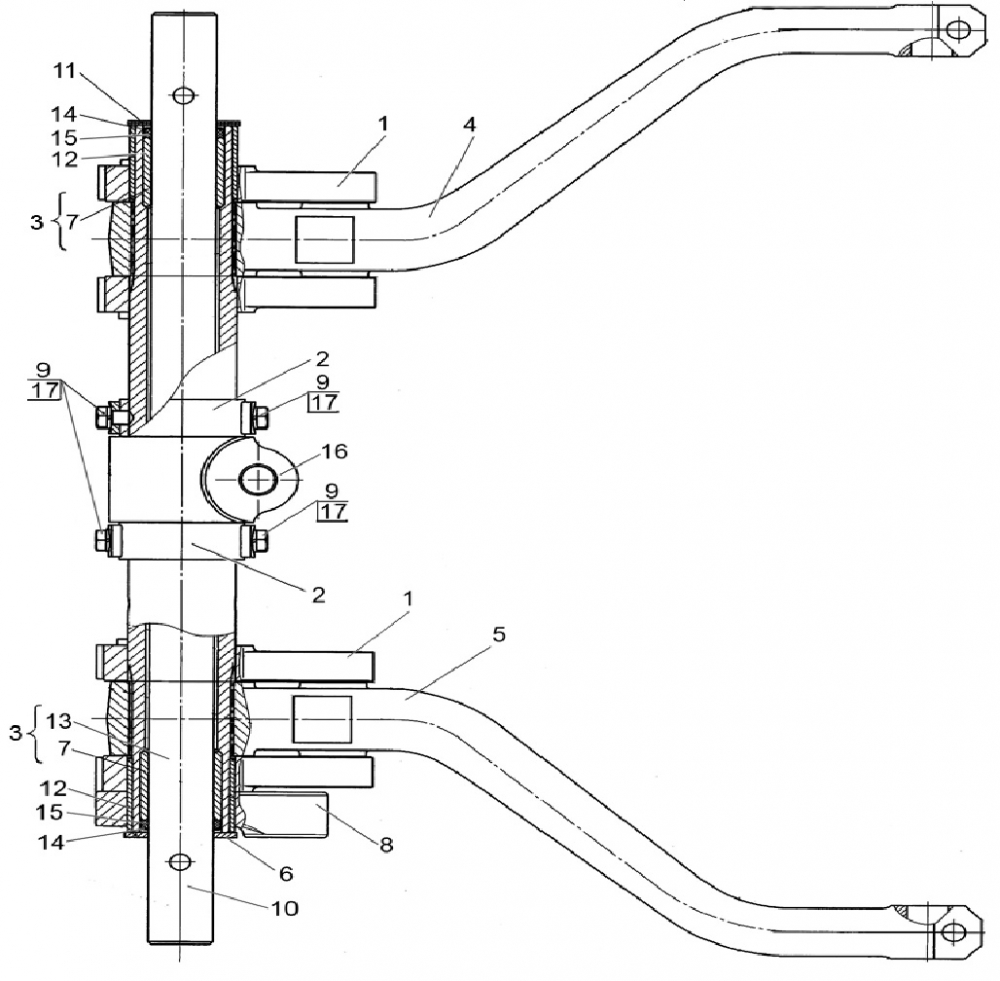
Пристрій навісний задній (частина 3) ХТЗ-248К.20


1 Номер: 120.56.015-ХТЗ
ВАЖІЛЬ ШТОКА
0.00
2 Номер: 150.56.032-ХТЗ
КІЛЬЦЕ УПОРНЕ
0.00
3 Номер: 151К.56.018-ХТЗ
ВАЛ ВАЖЕЛІВ
0.00
4 Номер: 172.56.151
ВАЖІЛЬ ПІДЙОМНИЙ
7938.70
5 Номер: 172.56.151-01
ВАЖІЛЬ ПІДЙОМНИЙ
7938.70
6 Номер: 77.60.169
ШАЙБА
0.00
7 Номер: 77.60.170-3
ВТУЛКА
0.00
8 Номер: 120.56.133
ВАЖІЛЬ УПОРНИЙ
0.00
9 Номер: 150.56.149
БОЛТ УСТАНОВЧИЙ
0.00
10 Номер: 150.56.161
ВІСЬ ВЕРХНЯ
3232.30
11 Номер: 151.56.196
ШАЙБА
0.00
12 Номер: 151К.56.104
ВТУЛКА
0.00
13 Номер: 151К.56.109
ВАЛ ВАЖЕЛІВ
10123.20
14 Номер: 151М.56.201
КОВПАК
0.00
15 Номер: 151М.56.202
КІЛЬЦЕ СП-60-47-8 ГОСТ 6308-71
0.00
16 Номер: 180.56.139
ГОЛОВКА ВЕРХНЬОЇ ТЯГИ
1385.30
17 Номер: ШГН-1465Г.20
ШАЙБА ГОСТ 6402-70
0.00